전자·ICT 산업은 반도체와 임베디드, IoT, 5G/6G가 이끄는 초연결 시대입니다.
제품 개발 속도가 빨라질수록 ‘전자·ICT 특허 출원’은 시장 선점을 좌우합니다.
선행기술조사와 특허 명세서 전략을 초기 설계와 병행하면, 회피설계를 줄이고 라이선스 가치가 커집니다.
KIPRIS 검색, OA 대응, PCT 국제출원을 한 흐름으로 설계해 글로벌 사업화를 앞당기세요.
칩 소형화, 고속 인터페이스(PCIe/USB4), RF·안테나, EMC/EMI, OTA·보안이 동시다발적으로 고도화됩니다.
표준(3GPP/IEEE)과 호환성 이슈가 커질수록 SEP, 포트폴리오, 라이선스 전략이 필수입니다.
연구개발과 특허를 분리하지 말고, 요구사항 정의 단계부터 출원 로드맵을 묶으세요.
프로토타입 단계의 조기 출원은 우선권을 확보하고, 후속 개선을 분할·보정 출원으로 이어줍니다.
전자·ICT는 회로·펌웨어·통신·클라우드·엣지 AI까지 아우르는 하드웨어·소프트웨어 융합 영역입니다.
반도체/패키징, PCB/HDI, RF/6G, IoT, 보안칩, 전원/열관리, 카메라·센서가 핵심 분야입니다.
특허의 장점은 독점적 권리, 협상력 강화, 투자 유치, 표준 연계 수익화(라이선스)입니다.
권리 범위를 넓힌 청구항과 PCT 전략을 결합하면 글로벌 스케일업의 산업적 가치가 극대화됩니다.

■ 목차
① 전자·ICT 특허 출원의 의미와 정의
② 왜 전자·ICT 특허 출원이 필요한가 – 기술 보호·경쟁력·수익·법적 보호
③ 전자·ICT 특허 등록 요건 – 신규성·진보성·산업상 이용 가능성
④ 전자·ICT 특허 출원 절차와 등록 방법 – 선행기술 조사·명세서·청구항
⑤ 전자·ICT 특허 심사 과정 – 의견서·보정서·등록 결정
⑥ 전자·ICT 특허권 효력과 보호 범위 – 무단 사용 금지·라이선스
⑦ FAQ – 비용·기간·선행기술 조사·실험데이터
⑧ 실제 '전자·ICT' 특허 사례 – 출원 전략과 시사점
⑨ 하앤유 특허사무소와 함께하는 맞춤형 특허 전략

전자·ICT 특허 출원은 회로·펌웨어·통신기술을 법적 권리로 전환하는 과정입니다.
반도체·임베디드·IoT·5G/6G처럼 표준과 연결된 영역일수록 권리 선점이 경쟁력입니다.
명세서·청구항으로 동작 원리와 효과를 구조화해, 모방·회피설계를 억제합니다.
EMC/EMI, RF·안테나, 보안 부팅·OTA 등 세부 기술도 포트폴리오로 묶어 보호합니다.
우선권과 PCT 전략을 결합하면 글로벌 진출, 라이선스·투자 협상력이 커집니다.

■ 기술보호
회로 설계, 펌웨어, RF·안테나, EMC/EMI 대책처럼
재현이 쉬운 기술은 공개 순간부터 모방 리스크가 커집니다.
특허 출원으로 신규성·진보성을 입증하고
청구항으로 핵심 알고리즘·인터페이스·구현 범위를 잠급니다.
OTA 업데이트, Secure Boot, TPM/SE까지 포함해
우회 구현을 봉쇄하면, 제품 수명주기 전반에서
유사·복제 시도를 법적으로 차단할 수 있습니다.
■ 경쟁력강화
표준(3GPP/IEEE)과 연동되는 5G/6G, V2X, IoT 디바이스는
특허 포트폴리오가 곧 경쟁력입니다.
설계 초기부터 선행기술조사→명세서 전략을 병행하면
Speed-to-File을 확보하고, 경쟁사의 회피설계를 견제합니다.
HDI PCB, PCIe/USB4, 전력반도체(SiC/GaN) 등
핵심 부품·인터페이스를 권리망으로 묶어두면
부품 조달·레퍼런스 디자인 협상에서 주도권을 갖습니다.
■ 수익창출
강한 청구항은 라이선스·크로스라이선스의
협상 레버리지입니다.
양산사·모듈사·플랫폼사와의 계약에서
로열티, 기술이전, 공동개발 옵션을 이끌어낼 수 있습니다.
SEP(표준필수특허) 가능성이 있는 기술은
필수요소·기술효과를 명확히 기록해
FRAND 라이선스 전략과 연결하세요.
포트폴리오 기반의 특허 매각·담보 설정도
현금흐름에 기여합니다.
■ 법적보호
등록특허는 침해 주장·금지청구·손해배상·가처분의
법적 근거가 됩니다.
권리범위를 넓힌 독립항·종속항 구조로
직접·간접 침해까지 대비하세요.
출원일 기준 우선권, PCT 국제출원, 분할·보정 출원으로
개선안을 순차 보호하면 빈틈이 줄어듭니다.
KC/CE/FCC 인증 준비 단계에서
명세서와 도면을 정합시키면
분쟁 발생 시 입증력이 높아집니다.

■ 신규성
출원 전에 공개된 동일·유사 기술이 없어야 합니다.
논문, 특허, 전시·데모, 앱스토어 페이지, 깃허브 코드까지
모두 선행공개로 간주됩니다.
회로도·PCB 아트워크·펌웨어 UI 캡처 likewise 공개면 위험합니다.
KIPRIS·논문DB로 핵심구성·효과를 구분해 공백을 찾고,
출원 전 보안유지(NDA)·비공개 검증으로 공개 리스크를 줄이세요.
■ 진보성
해당 분야 통상의 기술자가 보았을 때
쉽게 도출되지 않아야 합니다.
단순 부품 대체·병렬 결합은 약합니다.
문제-해결 접근으로 차별 포인트를 구조화하고,
효율(전력/지연/감도)·EMC 여유도·안정성 지표 등
예상 밖 성능 향상을 데이터와 함께 제시하세요.
선행기술 대비 결합불가 사유·기술편견도 논리로 남깁니다.
■ 산업적이용가능성
반복 재현 가능하고, 구체적 용도와 제조 가능성이 필요합니다.
프로토타입 동작, 양산 공정 적합성(DFx), 신뢰성 시험 계획,
표준(3GPP/IEEE/USB-IF 등) 부합성을 명세서에 녹이면 유리합니다.
부품 수급·공정 창구·펌웨어 업데이트 절차까지 연결해
실사용 시나리오를 명확히 하세요.
적용 제품군과 라이선스 모델을 제시하면 사업성도 뒷받침됩니다.

■ 선행기술조사
KIPRIS·특허DB·논문·표준 문서를 폭넓게 확인합니다.
회로·펌웨어·RF·EMC/EMI까지 키워드를 확장해 공백을 찾습니다.
핵심 구성요소, 인터페이스, 성능지표를 표로 정리합니다.
‘차별 포인트’와 ‘효과’를 미리 구조화해
청구항 설계의 토대를 마련합니다.
오픈소스 공개, 전시·발표 이력 등
신규성 리스크도 동시에 점검합니다.
■ 명세서 및 청구항작성
문제-해결-효과 흐름으로 본질을 압축합니다.
블록도·플로우차트·파형·PCB/안테나 도면을 일관되게 배치합니다.
독립항은 폭넓게, 종속항은 구현예·변형예로 깊이를 만듭니다.
성능 수치·실험 조건을 남겨 재현성과 진보성을 강화합니다.
대안 부품(SiC/GaN), 프로토콜(PCIe/USB4/5G) 변형도
커버하도록 용어를 포괄적으로 정의합니다.
■ 특허 출원서 작성
발명의 명칭·요약·도면 목록을 누락 없이 정리합니다.
전자·ICT 특성을 반영해 IPC·키워드를 적절히 지정합니다.
우선권 주장, 분할 가능성, PCT 전환 계획을 미리 표시합니다.
기업명·발명자 정보, 첨부 파일 형식·분량 규정을 점검합니다.
전자출원 시스템 기준으로 메타데이터를 정확히 기입해
심사 지연 가능성을 줄입니다.
■ 방식심사 및 출원공개
형식 요건 위반 여부를 우선 확인받는 단계입니다.
서류 누락, 서명·날짜, 도면 해상도, 참조부호 불일치 등을 점검합니다.
보정 요구가 오면 즉시 정합성을 맞춥니다.
출원 후 통상 18개월에 공개되므로
경쟁사의 모니터링을 대비해 포트폴리오 확장안(분할·추가 출원)을
타임라인에 반영합니다.
■ 실체심사 및 보정대응
거절이유통지(OA)는 통상 신규성·진보성·기재불비가 핵심입니다.
선행문헌 대비 차별 구성과
효과(전력 효율, 지연, 감도, EMC 여유도)를 데이터로 제시합니다.
청구항 범위를 전략적으로 축소·정리하고
종속항을 승격하거나 표현을 치환해 회피설계를 차단합니다.
필요 시 인터뷰·보정의견서로
심사관과 쟁점 일치를 이루는 것이 효과적입니다.
■ 등록결정 및 등록료납부
등록결정서를 수령하면 지정기한 내 등록료를 납부합니다.
전자·ICT 분야는 후속 개선이 빈번하므로
분할·정정·추가 출원으로 권리망을 촘촘히 보강합니다.
유지연차료, 실시·라이선스 계약, 해외단계(PCT/개별국) 진입 일정을
권리관리 캘린더로 관리하세요.
KC/CE/FCC 인증 문서와 일치시키면
분쟁·실시증명 시 입증력이 높아집니다.

■ 형식심사
출원서·명세서·도면의 형식 요건을 확인합니다.
발명의 명칭, 발명자/출원인, 우선권 서류, 도면 참조부호, 전자파일 규격을 점검합니다.
누락·오표기·해상도 불량·페이지 순서 오류가 있으면 방식 보정요구가 나옵니다.
ICT 분야는 블록도·플로우차트·파형·PCB/안테나 도면이 많아 불일치가 잦습니다.
초기에 메타데이터와 서식을 표준화하면, 심사 지연과 불수리를 줄일 수 있습니다.
■ 실체심사
선행문헌 대비 신규성·진보성·기재충실을 검토합니다.
회로 구성, 인터페이스(PCIe/USB/5G), 알고리즘, 효과 데이터가 핵심입니다.
‘통상의 기술자’가 쉽게 도출 가능한 결합인지가 쟁점이므로,
문제-해결-효과 구조와 예상외 성능 향상 지표(전력/지연/감도/EMC 여유도)를 제시합니다.
표준(3GPP/IEEE)과의 관련성, 실시 가능성, 재현성도 명확히 기술해
권리범위를 과도하게 좁히지 않도록 균형을 맞춥니다.
■ 보정 및 등록결정
거절이유통지(OA)에 대해 의견서와 함께 청구항 보정을 설계합니다.
핵심 구성을 유지하면서 종속항 승격, 용어 정리, 범위 명확화로 회피설계를 차단합니다.
필요 시 면담으로 심사관과 쟁점을 정렬하고, 데이터·실험 조건을 추가해 입증력을 높입니다.
거절사유가 해소되면 등록결정이 내려지고, 기한 내 등록료 납부로 권리화가 완료됩니다.
후속 개선은 분할·정정으로 연결해 포트폴리오를 촘촘히 확장하세요.

■ 독점적권리
등록된 청구항 범위 안의 구현은
권리자가 배타적으로 사용할 수 있습니다.
제품·부품·펌웨어·알고리즘까지 포괄해
경쟁사의 동일·등가 구현을 견제합니다.
독립항은 넓게, 종속항은 깊게 구성해
회피설계 여지를 최소화하세요.
표준 연계 기술은 포트폴리오로 묶을수록
시장 지배력이 커집니다.
■ 무단사용금지
침해 정황이 확인되면
금지청구·가처분으로 유통을 즉시 차단할 수 있습니다.
간접침해·기여침해 가능성도 검토해
모듈·레퍼런스 디자인 단계부터 대응하세요.
로그·시험 데이터·버전 관리 기록을 남겨
입증력을 높이면 협상 우위가 생깁니다.
경고장 발송→협상→소송의
단계별 시나리오를 미리 준비하세요.
■ 수익창출
강한 특허는 라이선스/크로스라이선스의
핵심 담보입니다.
양산사·모듈사와 로열티 계약을 맺거나,
플랫폼사와 공동개발·기술이전으로
현금흐름과 파이프라인을 동시에 확보합니다.
SEP 가능 기술은 FRAND 원칙과 연계해
안정적 수익모델을 설계하세요.
포트폴리오 매각·담보 설정도
자금 조달 옵션이 됩니다.
■ 보호기간
일반 특허는 출원일을 기준으로
등록 후 최대 20년까지 효력이 유지됩니다.
전자·ICT처럼 개선이 잦은 분야는
분할·정정·추가 출원으로
유효기간 내 권리망을 지속 확장하세요.
연차료·해외단계 일정, 제품 출하 시점과
규제 인증 문서의 일치 여부를 관리하면
분쟁 시 방어력이 높아집니다.

출처: freepik
A. 최적 시점은 공개·배포 전에, 핵심 구현 아이디어가 확정된 직후입니다.
전시·논문·데모·앱스토어 등록·깃허브 공개는 신규성 상실로 이어질 수 있으니,
NDA 없이 외부 노출이 예정되면 그 전에 출원하세요.
프로토타입이 완성되지 않아도 됩니다.
회로·펌웨어·알고리즘의 차별 포인트가 문서화되면,
선행기술조사와 명세서/청구항 준비를 병행해 속출원을 권합니다.
이후 12개월 우선권 기간 안에 개선안을 반영해
분할·보정, PCT 국제출원까지 로드맵으로 이어가면 안전합니다.
A. 다음을 준비해 명세서 중심으로 정리합니다.
발명의 명칭·기술분야·배경/해결과제, 핵심 구성요소와 동작 원리, 기대효과·비교예, 실시예(제조/동작 절차).
도면은 시스템 블록도, 상세 회로도, 플로우차트·상태도, 타이밍/파형, PCB 레이아웃·스택업, 안테나 패턴·방사패턴까지.
성능 데이터(전력·지연·감도·EMC 여유도)와 시험 조건을 표로 첨부합니다.
구현 자료(펌웨어 흐름, 인터페이스 PCIe/USB/5G, 파라미터 테이블), 변형예·대안 부품(SiC/GaN), 치환 가능성도 기재하세요.
선행기술조사 요약과 차별 포인트, 우선권 서류·공동발명자 확인, 표준(3GPP/IEEE) 적합성 근거를 포함하면 심사 대응이 수월합니다.
민감한 소스/로그는 필요 부분만 인용·익명화해 증빙으로 활용하세요.
A. 전자·ICT 분야에서 잦은 거절 사유는 대체로 네 가지입니다.
첫째, 신규성 흠결–선행 특허/논문/표준 문서에 동일 구성이 이미 공개된 경우.
둘째, 진보성 부재–통상의 기술자가 부품 치환·단순 결합으로 쉽게 도출 가능한 결론인 경우.
셋째, 기재불비/불명료–동작 원리·실시 가능성이 불충분하거나 용어가 모호한 청구항.
넷째, 지원요건/단일성 위반–명세서로 뒷받침되지 않거나 발명이 여러 갈래로 분산된 경우.
데이터·도면·효과를 정합시켜 보정하는 전략이 핵심입니다.
A. 등록특허는 청구항 범위의 기술을
권리자가 배타적으로 실시·양도·허락할 수 있는 지위를 보장합니다.
무단 사용이 확인되면 침해금지·가처분으로 유통을 신속히 차단하고,
손해배상·부당이득 반환을 청구할 수 있습니다.
부품·모듈 단계의 간접·기여침해에도 대응 가능하며,
자료제출명령·감정 등으로 입증력을 높일 수 있습니다.
또한 라이선스·크로스라이선스로 수익화가 가능하고,
표준필수특허(SEP)는 FRAND 조건 하에 안정적 로열티를 기대할 수 있습니다.
A. 일정은 보통 이렇습니다.
선행조사 1~3주 → 명세서·도면 2~4주 → 출원.
출원 후 18개월에 공개가 되고,
심사청구~1차 의견통지까지 6~12개월이 일반적입니다.
보정 왕복이 있으면 전체 1.5~3년 소요.
우선심사를 쓰면 수개월 단축이 가능합니다.
비용은 홈페이지에 별도로 서술되어 있습니다.
도면·번역·우선권 서류 등 부대비용이 추가될 수 있습니다.
심사청구료·등록료·연차료는 특허청 수수료 + 대행비 구조이며,
해외(PCT/개별국) 출원은 별도 예산이 필요합니다.
프로젝트 범위를 주시면 일정과 견적을 구체화해 드리겠습니다.

출처: 키프리스
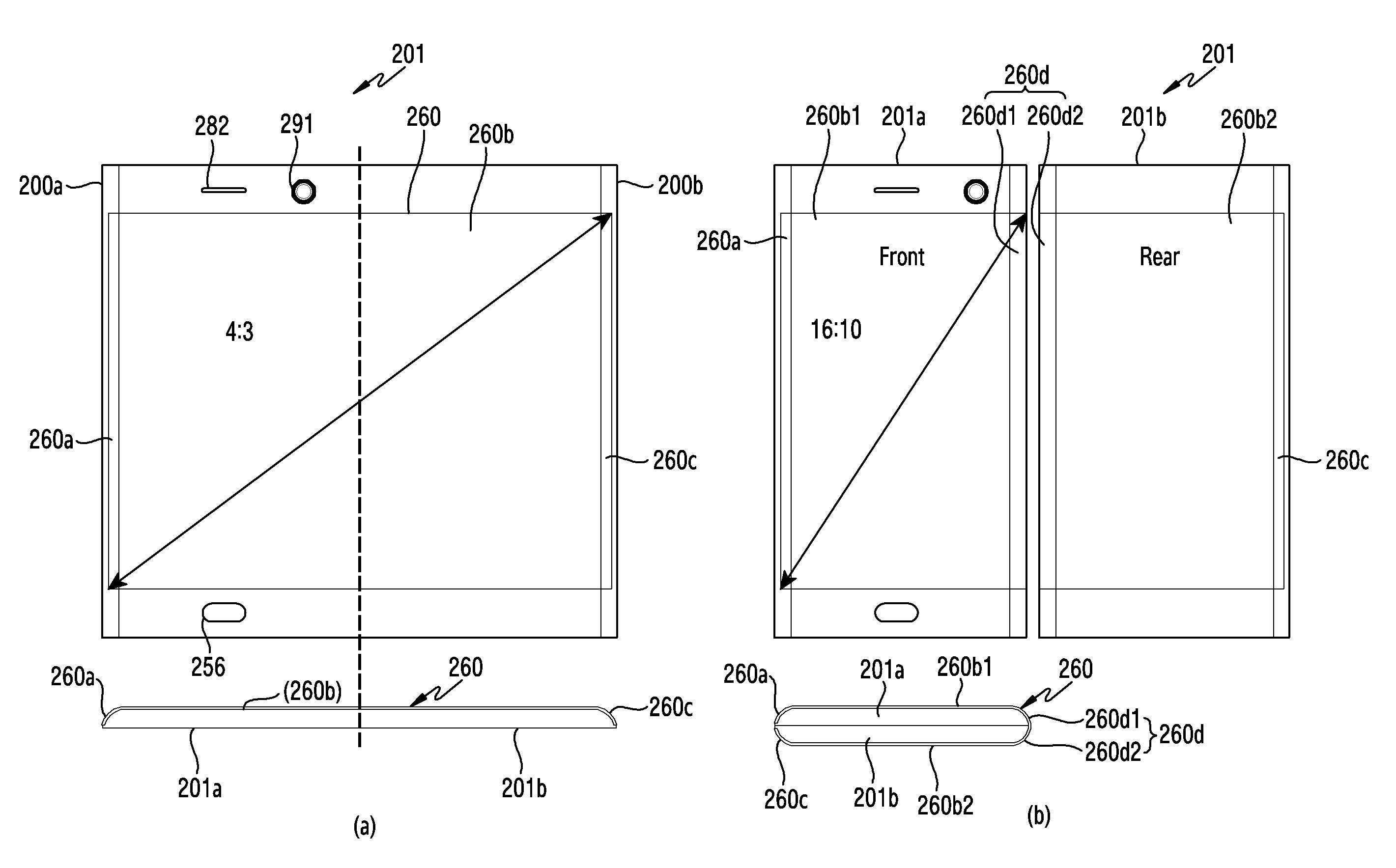
■ 전자 디바이스
ELECTRONIC DEVICE
출원인 엘지전자 주식회사
본 개시는 전자 디바이스에 관한 것이다. 전자 디바이스는: 광투과성 디스플레이부가 결합되는 프런트 프레임; 상기 프런트 프레임의 일측에 힌지 연결되는 사이드 프레임; 상기 프런트 프레임 및 상기 사이드 프레임에 내장되고, 상기 프런트 프레임으로부터 상기 사이드 프레임으로 연장되는 FPCB; 그리고, 상기 프런트 프레임과 상기 사이드 프레임을 연결하는 힌지 모듈을 포함하고, 상기 힌지 모듈은: 일측이 상기 프런트 프레임에 고정되는 제1 바디; 상기 제1 바디와 회동 가능하게 결합되고, 상기 사이드 프레임에 결합되는 제2 바디를 포함하고, 상기 FPCB는, 상기 제1 바디와 상기 제2 바디를 마주할 수 있다.

출처: 키프리스
■ 감정을 고려하여 합성 음성을 획득하는 전자 장치 및 그 제어 방법
ELECTRONIC DEVICE FOR ACQUIRING SYNTHESIZED SPEECH BY CONSIDERING EMOTION AND CONTROL METHOD THEREFOR
출원인 삼성전자주식회사
전자 장치는 복수의 감정(Emotion) 각각에 대응되는 토큰 셋(Token Set)이 저장된 메모리 및 레퍼런스 음성(Reference Speech)이 수신되면, 복수의 감정 중 레퍼런스 음성에 대응되는 감정을 식별하고, 메모리에 저장된 복수의 토큰 셋 중 식별된 감정에 대응되는 토큰 셋을 획득하고, 레퍼런스 음성에 대한 정보 및 획득된 토큰 셋을 스타일 인코더(Style Encoder)에 입력하여 식별된 감정의 합성 음성을 출력하기 위한 스타일 정보를 획득하며, 텍스트가 입력되면, 텍스트를 스타일 정보에 기초하여 획득된 디코더에 입력하여 텍스트에 대응되는 합성 음성을 획득하고, 텍스트에 대응되는 합성 음성을 출력하는 적어도 하나의 프로세서를 포함한다.

출처: 키프리스
■ 아웃 폴딩(out-foldable) 가능한 전자 장치 및 아웃 폴딩 가능한 전자 장치의 제어방법
OUT-FOLDABLE ELECTRONIC APPARATUS AND CONTROL METHOD THEREOF
출원인 삼성전자주식회사
아웃 폴딩(out-foldable)가능한 전자 장치 및 아웃 폴딩 가능한 전자 장치의 제어방법이 제공된다. 보다 상세하게는 공통 곡면 영역에서 디스플레이를 지지하는 지지 시트를 가지는 아웃 폴딩 가능한 전자 장치 및 아웃 폴딩 가능한 전자 장치의 제어방법이 개시된다. 개시되는 실시예 중 아웃 폴딩되는 전자 장치의 공통 곡면 영역에서 폴딩되는 디스플레이의 아래에서 디스플레이를 지지하는 지지 시트를 포함하는 가지는 아웃 폴딩 가능한 전자 장치 및 아웃 폴딩 가능한 전자 장치의 제어방법을 제공한다.

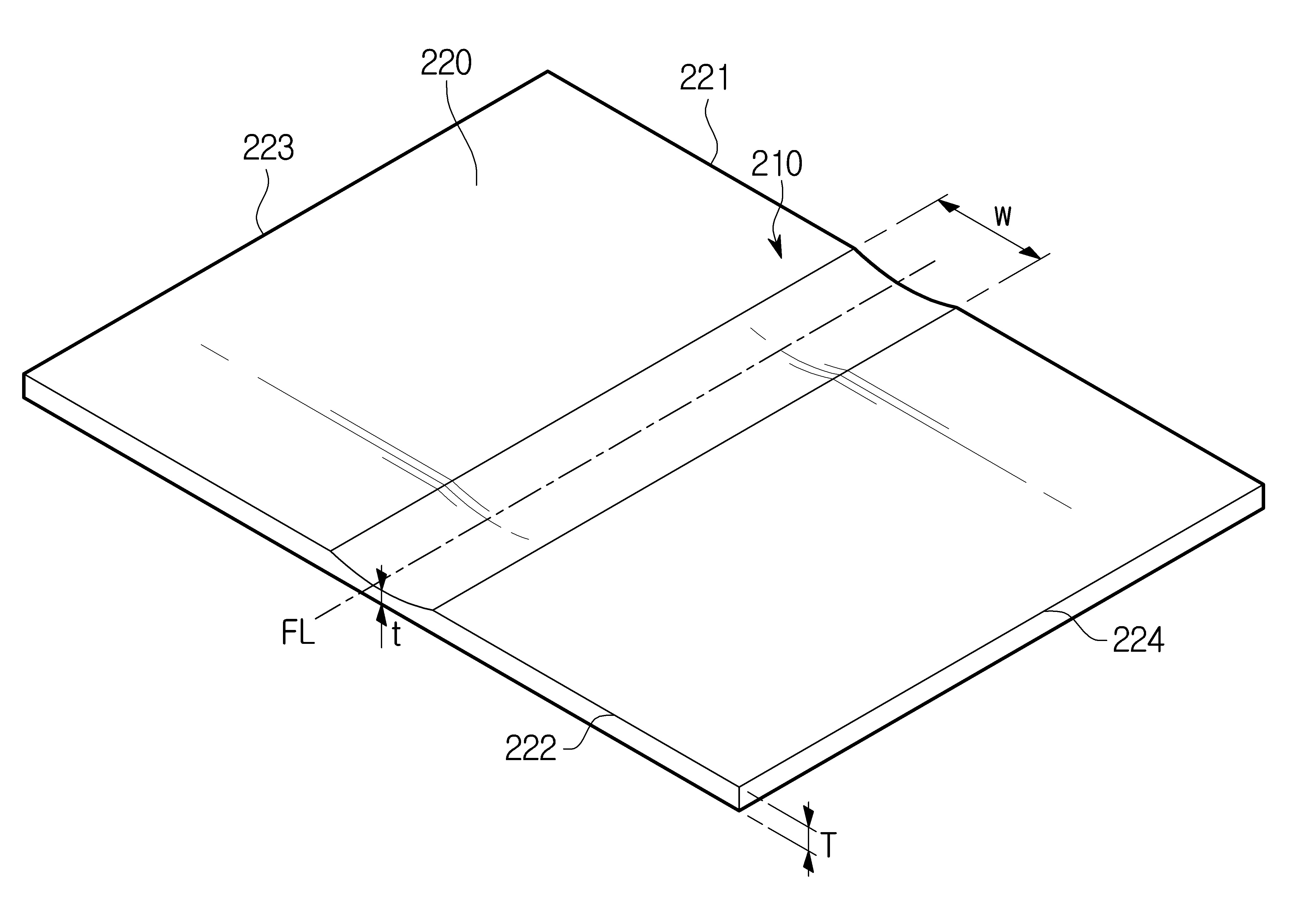
출처: 키프리스
출원인 삼성전자주식회사
유리(Glass) 재질로 형성되고, 접힘(Folding)이 가능한 커버 윈도우 및 이를 포함하는 폴더블 디스플레이 장치를 제공할 수 있다. 폴더블 디스플레이 장치는 영상을 포함하고, 접힘 가능한(foldable) 디스플레이 패널 및 상기 디스플레이 패널 상에 배치되어 상기 디스플레이 패널을 커버하는 커버 윈도우를 포함하고, 상기 커버 윈도우는, 유리(Glass) 재질로 형성되고, 상기 커버 윈도우의 두께가 얇아지도록 상기 커버 윈도우의 적어도 일면에 형성되는 폴딩부를 포함하며, 상기 커버 윈도우는 상기 폴딩부를 기준으로 펼쳐지거나 접힐 수 있다.

출처: 키프리스
출원인 한국세라믹기술원
본 발명은, 본 발명은, 두루마리가 가능한 유연 디스플레이 패널을 포함하는 모바일 기기와, 상기 모바일 기기를 수납하는 공간을 제공하고 상기 유연 디스플레이 패널이 움직이는 통로 역할을 하는 채널부가 구비되어 있는 몸체부와, 상기 몸체부 하부에 구비되고 사용자의 팔뚝과 접촉하는 부위로서 적어도 일부 단면이 반원형 형태를 이루는 마운팅부를 포함하며, 상기 유연 디스플레이 패널은 상기 채널부를 따라 상기 몸체부 외부로의 펴져 나옴과 상기 몸체부 내부로의 삽입이 이루어질 수 있는 것을 특징으로 하는 팔뚝 장착형 스마트기기에 관한 것이다. 본 발명에 의하면, 얇고 가벼우며 유연하여 휘거나 감을 수 있고, 내충격성이 강하여 기계적 특성(mechanical properties)이 우수하며, 깨지지 않고 구부릴 수 있어 두루마리 형태로 말림이 가능한(rollable) 특징을 갖는 유연 디스플레이 패널을 사용하며, 팔뚝에 장착하여 상기 유연 디스플레이 패널을 통해 사진, 영상, DMB(Digital Multimedia Broadcasting), 인터넷, 영화, 게임 등의 고화질 컨텐츠(contents)를 대화면으로 제공할 수 있다.

출처: 키프리스
■ 소화탄 투척용 화재 진압 드론
A fire suppression drone for throwing fire-extinguisher
출원인 주식회사 드론고
본 발명은 소화탄 투척용 화재 진압 드론에 관한 것으로, 소화탄을 신속 운반하여 화재발생지역 상공에서 직접 발사하고 스마트 태그와 그 트래커로 소화탄 기폭을 제어하여 소화약제를 목표지점의 화재에 안정적으로 살포하기 위한 것이다. 이를 위하여 본 발명은 드론 몸체에 부착되어 드론 위치 정보를 포함하는 무선신호를 송출하는 스마트 태그, 드론 몸체 또는 거치대에 의해 거치 및 지지되며 소화탄 수납공간에여 소화탄을 수납 및 저장하고 드론 또는 원격제어장치의 제어신호에 의해 소화탄 수납공간을 개방하여 소화탄을 투하하는 소화탄 저장 및 투하부, 소화약제를 저장하고 소화탄 저장 및 투하부에 탑재되어 화재지역으로 운반되며 소화탄 저장 및 투하부에서 분리시 바람 저항 또는 주변 환경에 의해 감속 낙하하면서 스마트 태그의 무선신호로 드론과의 이격 거리를 산출하여 소화약제를 살포하는 소화탄, 및 소화탄에 부착되어 스마트 태그의 무선신호로 스마트 태그와 이격 거리를 산출하여 소화탄을 기폭시키며 소화탄의 위치 추적이 가능한 무선신호를 무선 송출하는 스마트 태그 트래커를 포함하여, 고층건물이나 우거진 산림 또는 넓은 초원 등에서 발생된 화재를 효과적으로 진압할 수 있고 소화약제의 불필요한 비산량을 줄여 비용 절감할 수 있게 한다.
키프리스에서 반도체·통신·디스플레이·소프트웨어·AI·인공지능·IoT·보안 특허 찾아보기
반도체·임베디드·RF/5G·EMC/PCB 등
전자·ICT 전 주기 실무 경험으로 대응합니다.
선행기술조사부터 OA까지
데이터 기반으로 거절 리스크를 낮춥니다.
연구원·기업·개인 목표에 맞춰
명세서·청구항 설계, 분할·보정, PCT 전략을
기간·비용·권리범위 중심으로 최적화합니다.
아이디어·프로토타입 단계라도 괜찮습니다.
KIPRIS 1차 진단 후 로드맵을 제시하고,
빠르게 출원 일정을 확정해 권리 선점을 돕습니다.
카카오톡 문의
☎️ 02) 6956-0870
✉️ ha@ha-yoo.com
하앤유특허법률사무소 대표 변리사와 1:1 무료 상담 ▼ 클릭!
하앤유 특허 등록 비용 안내 바로 가기 ▼ 클릭!
[특허신청하는 방법] 특허출원/특허등록/특허비용의 모든 것 ▼ 클릭!
하앤유특허법률사무소 등록사례 보러가기 ▼ 클릭!
#하앤유특허사무소 #전자특허 #ICT특허 #특허출원 #선행기술조사 #명세서작성 #청구항전략 #OA대응 #PCT #KIPRIS
#특허 #특허출원 #특허등록 #특허권 #하앤유 #특허변리사 #PatentRegistration #PatentApplication #하앤유특허법률사무소